某企業生產的一款125摩托車發動機鋁合金箱體,其加工后質量為1.84kg,采用DC800T冷室壓鑄機鑄造,內澆口開設在非加工面上,敲掉料餅后澆口處出現夾渣缺陷,因此處為外觀面并且是曲軸箱的機油儲存部位,基本無法修復而報廢。2013年因夾渣報廢的廢品率為1.91%,經過一系列的研究,成功地將廢品率降低到0.1%,并在其他部件中推廣應用,取得了良好的效果。該產品采用YDC11壓鑄鋁合金,其化學成分見表1。本課題主要從鋁合金壓鑄件澆口夾渣的發生機理和實際鑄造條件等方面出發,分析產生澆口夾渣的原因和改善措施,以期為鋁合金箱體壓鑄件生產提供參考。
摩托車發動機鋁合金曲軸箱體在壓鑄毛坯時常會出現澆口夾渣現象,而澆口夾渣又多為類似縮孔、油污和冷硬層3種形式。引起夾渣的原因主要是模具溫度過高、沖頭油過量和Al液含渣量高等。解決縮孔類夾渣,主要從降低模具溫度入手;油污類夾渣,可采取調整沖頭潤滑油用量、加注位置及供給方式;應對冷硬層夾渣,主要靠調整壓射延時和調整湯勺退回待機時間、過濾湯勺式樣的導入、規范Al液除渣除氣作業要求等措施。
圖文結果

通過對廢鋁合金箱體分析,澆口夾渣主要有3種形態:縮孔類、油污類和冷硬層。其中以油污類的夾渣數量居多,占夾渣總數的60%以上;冷硬層占夾渣總數的35%左右;而縮孔類占夾渣總數的5%。
當敲掉鋁合金箱體澆道料餅后,澆口處出現呈不規則形狀、內部比較干凈、表面粗糙的類似縮孔狀的孔洞,見圖1。縮孔類夾渣的鑄件澆口表面凹陷,打磨涂裝后外觀仍不光潔。產生原因是內澆口溫度比較高(實測最高模溫為380℃),是最后凝固的部位,造成該處Al液來不及補縮,產生縮孔缺陷。

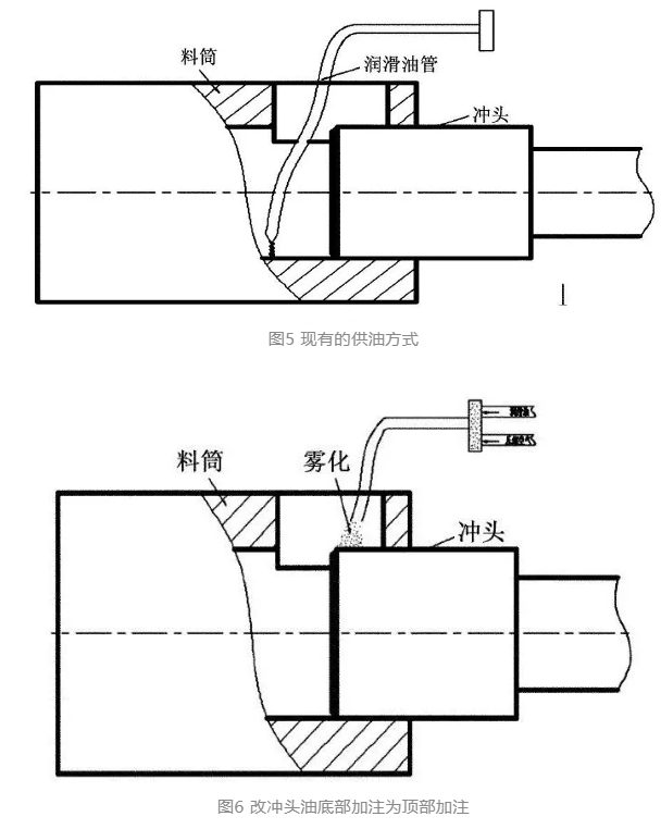
每一鑄造循環需向沖頭加注潤滑油,沖頭油在Al液澆注后沒有完全燃燒,被包裹在Al液中形成雜質一起填充到型腔。由于包裹有沖頭油的Al液溫度較低,會較早凝固,流動速度慢,因而在填充末了時停留在產品末端。加之內澆口截面積小,流動阻力大,這部分包裹有沖頭油且提前凝固了的Al液雜質更不容易通過,停滯于內澆口附近。敲掉料餅后,在內澆口處呈現黑色孔洞,其內壁粗糙,表面有明顯油污,見圖2。檢查澆口和料餅夾渣情況,同樣發現此類雜質。

冷硬層是指被注入到料筒內的Al液與料筒低溫表面接觸急速冷凝所形成的殼體(光譜儀檢查冷硬層化學成分未發現異常,均在標準允許范圍內),在高速填充時隨Al液一起被填充到型腔,見圖3。固態的冷硬層密度(2.7g/cm2)比液態(2.45g/cm2)的Al液大,在沖頭低速運行階段,冷硬層慢慢聚集在Al液的末端。沖頭高速運行時,部分冷硬層將被卷入型腔,形成缺陷。最終殘留在內澆口的冷硬層形態見圖4。冷硬層多為薄片狀,表面有光澤且較硬,與周圍母材多存在間隙,不僅影響外觀,也降低零件的強度。



結論
針對壓鑄摩托車曲軸箱體澆口夾渣,從弄清產生夾渣的機理出發,總結現有生產條件的不足及與夾渣的關聯性,從而制定相應的改善措施,保證合適的模具溫度,糾正錯誤的沖頭潤滑油供給方式,實現鋁合金熔煉的標準化,并驗證效果,使曲軸箱澆口夾渣問題得到有效控制。
本文作者:
楊誠 楊興國
重慶大學汽車工程學院
唐和雍 楊正平
重慶建設·雅馬哈摩托車有限公司
本文來自:《特種鑄造及有色合金》雜志,
《壓鑄周刊》戰略合作伙伴
